首页 >> 产品展示 >>蝶阀 >> XD371X信号蝶阀
详细内容

XD371X信号蝶阀

XD371X信号蝶阀.jpg

【产品用途】

XD371X信号蝶阀适用于消防系统中控制阀门,要求常开的场合,当阀门开或关到指定位置时,阀门上的信号装置便可发出信号送至消防检测中心可以显示出蝶阀开启或关闭,以防止阀门误关闭而影响自动喷水灭火功能。

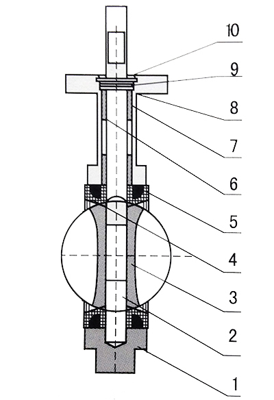
【结构示意图】

信号蝶阀结构图

图中标注数字注释:1表示阀体,2表示阀轴,3表示蝶板,4表示阀座,5表示填料,6表示衬套,7表示密封圈,8表示圆垫片,9表示对开环,10表示挡圈。

【性能参数】

信号蝶阀型号XD371X-10XD371X-16
工作压力(MPa)1.01.6
适用温度(℃)≤65℃
适用介质水等
材料阀体铸铁
蝶板球墨铸铁(表面尼龙覆层)
阀杆铬不锈钢
阀座丁晴橡胶
填料O形橡胶圈


最新评论
请先登录才能进行回复登录

鞍山瑞科阀门制造有限公司

Anshan Ruike Valve Manufacturing Co.,Ltd

手机浏览


公司邮箱:asrkfm@163.com


公司地址:辽宁省鞍山市腾鳌特区黄士村保安路87号

鞍山瑞科阀门制造有限公司

联系热线:0412-8913855/8913255

客服中心
联系方式
0412-8913855
0412-8913255
扫一扫,关注微信
技术支持: 长青网络科技有限公司 | 管理登录
seo seo