|
偏心半球阀
【阀门用途】 偏心半球阀也叫C型球阀是靠旋转半球来使阀门畅通或闭塞。其开关轻便,体积小,可以做成很大口径,密封可靠,结构简单,维修方便,密封面与球面常在闭合状态,不易被介质冲蚀。广泛适用于石油、化工、城市给排水等要求严格密封的工况。 【阀门特点】 1.偏心半球阀流体阻力小,其阻力系数与同长度的管段相等; 2.结构简单、体积小、重量轻; 3.紧密可靠,目前球阀的密封面材料广泛使用塑料、密封性好,在真空系统中也已广泛使用; 4.偏心结构设计,阀门打开时迅速脱离阀座,减少摩擦,提高寿命; 5.维修方便,球阀结构简单,密封圈一般都是活动的,拆卸更换都比较方便; 6.偏心半球阀在全开或全闭时,球体和阀座的密封面与介质隔离,介质通过时,不会引起阀门密封面的侵蚀; 7.适用范围广,通径从小到几毫米,大到几米,从高真空至高压力都可应用。 【执行标准】 设计规范: API 6D API 608 BS 5351 GB/T12237 结构长度: ASME B16.10 GB/T12221 法兰连接: ASME B16.5 GB/T9113 试验与检验:GB/T 13927 API 598 API 6D 【性能参数】
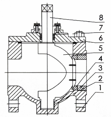
【结构示意图】
图中数字注释:1表示阀体,2表示压紧圈。3表示轴套,4表示阀座,5表示球冠,6表示阀盖,7表示填料,8表示偏心轴。 |
||||||||||||||||||||||


